空氣送料機的結構改進
空氣送料機作為早的送料設備,因其經濟實惠在沖壓自動化行業中還有一定的市場。
但市場上現有的空氣送料機由于組成部件結構上的不完善,影響了送料的步距精度。比較突出的是,送料機構的主中心活塞是靠尼龍擋圈來起緩沖和定位作用的,在高速運動時往往由于沖擊而造成送料不準的現象。同時,換向閥的排氣口只裝有消聲裝置,而未配置節流閥,致使送料機使用時平衡性較差,也影響了步距精度。此外,換向閥在長時間工作后,閥芯的磨損嚴重,以致出現漏氣現象而使送料精度降低。
晉志德機械作為國內專業送料機廠家,針對上述現有技術的不足之處,對空氣送料機結構進行優化改進,以提高它的送料精度。
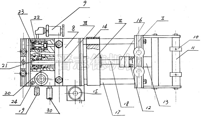
一、空氣送料機由導向部分I、送料部分II、閥體部分III構成。導向部分I包括導輪、固定體、導桿、中心支承桿、定位套、微調螺栓。導輪套在導輪軸上。兩根導桿和中心支承桿固定在固定體上,通過微調螺栓和定位套調節步距。

圖1 晉志德空氣送料機的結構示意圖

圖2 晉志德空氣送料機的俯視結構圖
1.后導向輪 2.保護開關 3.氣壓控制閥 4.固定壓板 5.保護開關 6.移動本體 7.固定體 8.閥體 9.消聲節流空氣閥 10.導輪 11.導輪軸 12.前彈性緩沖器 13.送料長度微調螺絲 14.滑動軸承 15.二次導向電磁閥 16.定位套 17.導桿 18.中心支承桿 19.排氣消聲器 20.主中心活塞 21.后彈性緩沖器 22.換向閥體 23.換向閥芯 24.安裝螺孔 25.緩沖套 26.緩沖彈簧 27.緩沖套 28.緩沖彈簧 29.卡環 30.氣管
二、晉志德空氣送料機在結構上做了如下的優化改進,為減少送料機高速運動時的沖擊,在套有主中心活塞的中心支承桿的前、后兩端分別設有前彈性緩沖器和后彈性緩沖器。前彈性緩沖器由緩沖套、緩沖彈簧構成。緩沖套裝在中心支承桿的前端、緩沖彈簧裝在送料長度微調螺絲內。當移動本體碰到定位套時,通過緩沖套壓縮緩沖彈簧而起到緩沖作用。后彈性緩沖器裝在中心支承桿后端,緩沖套內裝有緩沖彈簧和卡環,中心支承桿從緩沖彈簧和卡環的中心穿過。當主中心活塞往后移動端部時,先觸及緩沖彈簧,從而起到緩沖作用。為確保送料機所送材料的直線度,還增設一對后導向輪,安裝在閥體的后端。送料部分II包括主中心活塞和移動本體。主中心活塞和移動本體相連接,由中心支承桿將空氣送到活塞中。移動本體在穿過移動本體的導桿上移動。為減少移動本體與導桿之間的磨損,在移動本體上設有滑動軸承。滑動軸承中有油槽,可以起到良好的潤滑作用,既減少磨擦阻力,又起到穩定送料精度的作用。閥體部分III包括閥體、換向閥體、換向閥芯、排氣消聲器、氣壓控制閥、二次導向電磁閥及固定壓板。兩根導桿固定在閥體上。閥體內裝有主中心活塞和換向閥體、換向閥芯,在換向閥體的排氣口處設有消聲節流空氣閥,以增強送料機送料時的平穩性。同時為增強換向閥芯的耐磨性和密封性能、換向閥芯采用黃銅擋圈,取代原有的尼龍擋圈,并加裝2個O型密封圈。晉志德空氣送料機主要易損耐磨件全部采用鍍硬鉻工藝,在其表面增加一層硬鉻鍍層,以進一步增強送料機易損件的耐磨性。
三、改進后的空氣送料機安裝時,通過兩個安裝螺孔將閥體固定在沖床的下模座上。空氣通過氣管進入閥體,通過在閥體中的氣道來控制送料的動作,并由氣壓控制閥與沖床的滑塊打桿配合,使送料機與沖床同步。
四、為徹底避免送料機工作時偶爾產生的塞料現象,晉志德空氣送料機還在閥體上方裝有2個保護開關,當材料進入空氣送料機后,如果出現堵塞或材料凸起、彎曲而觸到保護開關時,即可馬上停機,以保護模具。
文章發表:http://m.osasuosaghae.com/news_kongqislj.html




