雙頭材料架結構組成及特色
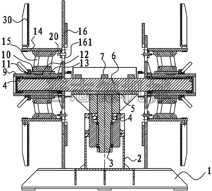
雙頭材料架由機架、連接座、定位孔、轉軸、軸承、臺板、支撐軸、抱箍、定位銷、套管、支承座、壓緊螺母、導向鍵、導向槽、撐板、鉸接桿、擋板、滑槽、移動環、阻尼環、調節螺釘、銷軸、擋料板構成。其中連接座固定在機架上,在連接座內設有轉軸,轉軸與連接座通過軸承相連接,轉軸的另一端向上伸出并在該端固定有臺板,臺板上設置支撐軸并通過三個抱箍將支撐軸的中部固定在臺板上,支撐軸的兩端懸臂,通過這種結構形成雙頭懸臂結構并可以轉動。臺板上設有定位銷,連接座上設有兩個對稱的定位孔,定位銷能插入到定位孔中。定位銷穿過臺板和連接座的定位孔,實現定位。當換卷料時,拔出定位銷,旋轉臺板至合適位置,再插入定位孔,即實現換卷。

雙頭材料架支承座呈圓筒狀,在支承座的內側面設有導向鍵,在套管上設有導向槽,導向鍵設置在導向槽內,實現支承座和支撐軸之間軸向滑動周向固定連接。在支承座的外圍設有四塊撐板,支承座與每塊撐板之間均設有兩根傾斜設置且相互平行的鉸接桿,每根鉸接桿的一端軸接在撐板上,另一端軸接在支承座上。

套管的內端固連擋板,為了控制卷料的開卷速度,在擋板和支撐軸之間設有控制卷料轉動速度的阻尼機構。阻尼機構包括移動環、固連在移動環一側的由阻尼材料制成的阻尼環和調節螺釘,調節螺釘穿過支撐軸與移動環通過螺紋相連接,阻尼環與擋板接觸。擋板上開有條形的滑槽,每塊撐板和擋板通過銷軸連接,該銷軸的一端設置在對應的滑槽內銷軸的另一端固定在撐板上,用以限制撐板的軸向移動,在撐板張開時,固定在撐板上的銷軸沿著滑動。撐板的外端軸接有擋料板,擋料板與擋板構成裝料頭,用于防止卷料脫出。
雙頭材料架的工作過程:在卷料裝在撐板上后,轉動擋料板使擋料板和擋板形成裝料頭,將卷料裝夾在里面。此后,擰動壓緊螺母,壓緊螺母在螺紋的作用下推動支承座軸向滑動,而由于撐板通過銷軸連接在擋板上,使得撐板無法再軸向移動,在隨著支承座的移動,鉸接桿推動撐板向外張開,使撐板將卷料撐緊。將卷料拉出使用時套管在支撐軸上轉動,卷料拉出的速度可以通過阻尼機構來進行控制。在一端得卷料用完時,轉動轉軸使支撐軸的另一端的卷料轉動半圈用定位銷固定后即可立即使用,減少更換卷料的時間,而已用完卷料的支撐軸一端可以有充分的時間裝上卷料,不會影響生產效率。
特優勢:雙頭材料架通過壓緊螺母、鉸接桿、套管等,實現對撐板的擴張與縮小,實現對卷料的撐緊與放松,結構簡單新穎;帶有阻尼裝置控制開卷速度,放卷穩定;雙頭結構設計,可同時裝兩個卷料。當一頭卷料用完時,只需掉頭即可實現換卷,換卷快速,提高了生產效率。
文章發表:http://m.osasuosaghae.com/news_stclj.html




